PP电子

PP电子(中国集团)官网首页
PP电子(中国集团)官网首页

手艺文章

首页 - 新闻资讯 - 手艺文章

标准和制造让天下重新熟悉PP电子之六:PP电子虹吸器

宣布日期: 2017-08-23    浏览次数: 7783    新闻编辑: 

  虹吸器是一种使用虹吸原理将烘缸内冷凝水倾轧从而提升烘缸外貌温度的烘缸排水装置。。。。市场上生产的虹吸器分为两大类,,,,,一类是牢靠式虹吸器,,,,,一类是旋转式虹吸器。。。。牢靠式虹吸器即牢靠在烘缸外的某一点上,,,,,不随烘缸一起旋转;; ;;;旋转式虹吸器牢靠在烘缸内部,,,,,随烘缸一起旋转。。。。

牢靠式虹吸器险些能够应用在所有车速在100米/分钟以上的装备上,,,,,悬臂牢靠式虹吸器还能够应用在开式齿轮和闭式齿轮传动的纸机上,,,,,能够在最洪流平上减小装备的振动和偏转,,,,,使烘缸的加热效果更上一层楼。。。。

  本公司能够提供种种形式的旋转式虹吸器,,,,,包括通例简朴式虹吸器和低压差旋转式虹吸器。。。。旋转式虹吸器通常顺应于中速纸机,,,,,由于虹吸管的吸嘴与缸壁间的间隙很小,,,,,形成的水环厚度很薄,,,,,因此热传导效果较好。。。。本公司生产的旋转式虹吸器其组装件少,,,,,在虹吸器的入口处有一个不锈钢吸嘴与笔直冷凝水管焊接在一起,,,,,而在另一端有一个弹簧支持的压力盘使虹吸器定位,,,,,以下为本公司常见的虹吸器结构:

  一、牢靠式虹吸器

  1.?软管式虹吸器

  软管式虹吸器是凭证烘筒特点而与旋转讨论配套使用的;; ;;;虹吸管是由挠性较好的不锈钢金属软管制成,,,,,依赖自身重量,,,,,自由下垂到烘缸底部,,,,,因此装置十分便当。。。。

PP电子(中国集团)官网首页

  特点:

  1) 软管结构不受烘缸轴颈巨细、烘缸直径限制,,,,,装置利便;; ;;;

  2) 测算时需思量软管挠性下垂度,,,,,因受到软管质料挠性限制,,,,,无法控制吸嘴距烘缸内壁距离,,,,,容易造成烘缸积水太多或是软管吸嘴口与烘缸内壁爆发摩擦;; ;;;

  3) 虹吸软管吸水后会造成重量增添,,,,,而软管下垂高度增添,,,,,容易造成擦缸,,,,,本公司虹吸器建议下垂度为25mm;; ;;;

  下垂的虹吸软管无钢性,,,,,受冷凝水攻击后,,,,,会爆发摆动,,,,,偏移吸水位置,,,,,适用于低速旋转装备。。。。


  2.内支持式90°锁紧式虹吸器

  内管支持牢靠式虹吸器是一种由内部碳质套管支持的悬臂牢靠式虹吸器。。。。结实的不锈钢水平管与笔直管使用专有的锁定机制牢靠。。。。弯头包括四部分:主体、摆动体、锁定螺丝和弹簧。。。。所有组件均接纳不锈钢制成。。。。

PP电子(中国集团)官网首页

  特点:

  1) 虹吸器结构不受烘缸轴颈巨细、烘缸直径限制,,,,,装置利便;; ;;;

  2) 内支持水平管,,,,,增强了水平管的强度;; ;;;

  3) 可使吸嘴口距烘缸内壁距离至最近;; ;;;

  4) 更好阻止可能因水流攻击被损坏的危险性。。。。


  3.弯头式虹吸器
PP电子(中国集团)官网首页
  特点:
  1) 接纳铰链毗连,,,,,利便装置、易维护;; ;;;
  2) 两肘接之间接纳经由精磨加工的球头与之相接的内孔一线密封,加之紧定弹簧使两肘接间,,,,,形成了优异的密封;; ;;;
  3) 适用于低速旋转装备。。。。

  4.弹簧紧锁式弯头虹吸器

PP电子(中国集团)官网首页

  特点:
  1) 所有接纳不锈钢设计,,,,,制造强度高;; ;;;
  2) 接纳铰链结构,,,,,不锈钢弹簧锁定,,,,,装置时可以伸直;; ;;;
  3) 可直接从烘缸轴颈内孔中装置,,,,,使用利便;; ;;;
  4) 密封接纳下垂的凸球面和水平的凹球面密封,,,,,密封性能好。。。。

  5.弯管式虹吸器
PP电子(中国集团)官网首页
  特点:
  1) 整体接纳不锈钢或碳钢质料设计,,,,,制造强度高;; ;;;
  2) 虹吸器装置时受到弯度的限制,,,,,测算时需思量烘缸轴径内孔的巨细,,,,,该结构适用于烘缸轴径内孔大、运转速率低的装备。。。。

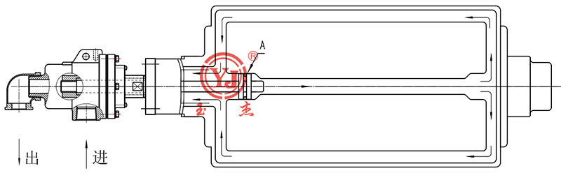
  二、旋转式虹吸器
  旋转式虹吸器相比于牢靠式虹吸器运转速率更高,,,,,由于虹吸管的吸嘴与缸壁间的间隙小,,,,,形成的流体介质厚度薄,,,,,因此传导效果较好。。。。 本公司所生产的旋转式虹吸器类型主要有以下形式:

1
PP电子(中国集团)官网首页
2
PP电子(中国集团)官网首页

3

PP电子(中国集团)官网首页

4
PP电子(中国集团)官网首页
5

PP电子(中国集团)官网首页
6
PP电子(中国集团)官网首页

  您的知足,,,,,PP电子追求!欲知产品详情,,,,,请拨打电话0595-22201044咨询。。。。

Copyright ?PP电子 版权所有 闽ICP备05026600号 中机标准化研究院 网站建设:科伟网络

【网站地图】
手艺文章_PP电子,PP电子科技,旋转讨论,高温旋转讨论